Posizionamento affidabile in ambienti potenzialmente esplosivi
L'Unione Europea ha fissato l'obiettivo del 20% di energia pulita per il 2020. Questo 20% deve essere ottenuto da fonti energetiche rinnovabili. Questo obiettivo mira, da un lato, a salvaguardare l'ambiente e, dall'altro, a ridurre la dipendenza dal petrolio. Tuttavia, i campi di utilizzo del petrolio sono diversi, per cui il petrolio non viene utilizzato solo come fonte di energia, ma è anche il materiale di partenza per la produzione in vari settori, ad esempio la produzione di materie plastiche. Ciò significa che il petrolio continuerà a essere una delle materie prime più importanti nei prossimi decenni, con l'aumento della domanda di energia e di materie prime. Con l'aumento della domanda di petrolio, come ad esempio la scoperta di nuovi pozzi petroliferi e il prezzo del petrolio ad un livello molto alto, la redditività della produzione di giacimenti petroliferi di difficile accesso, ad esempio nelle perforazioni in acque profonde. Tali perforazioni richiedono un altissimo grado di automazione e le massime precauzioni di sicurezza. La Deepwater Horizon nel Golfo del Messico, tra l'altro, mostra cosa può accadere. L'elevato rischio di esplosione è onnipresente negli impianti petrolchimici. Ogni componente installato deve quindi essere certificato antideflagrante, come il nuovo encoder rotativo AX65 di Hengstler.
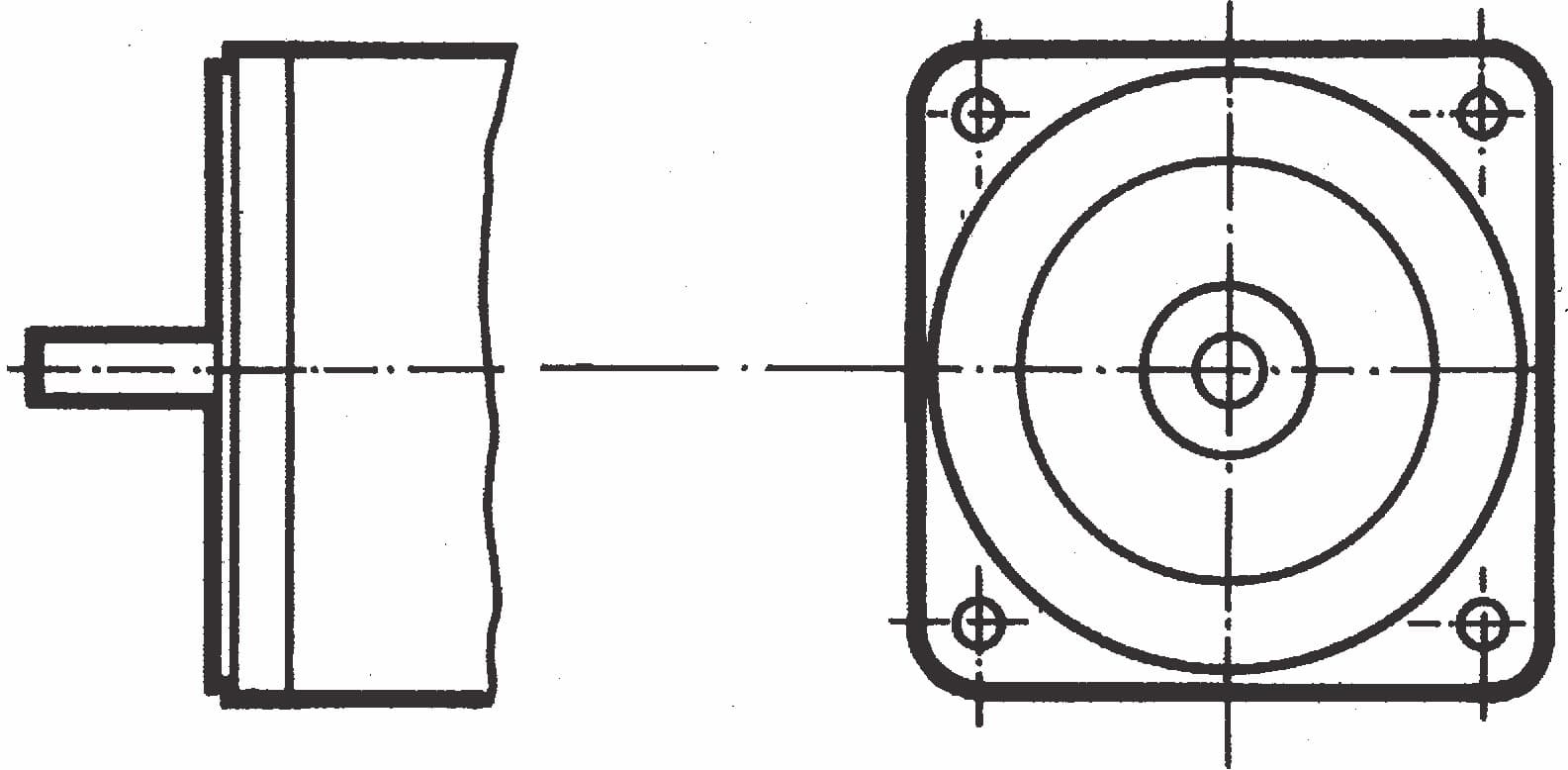
Encoder rotativo antideflagrante AX65
Encoder rotativo antideflagrante AX65
Da molti anni Hengstler, in collaborazione con i suoi clienti, ha acquisito esperienza e know-how nello sviluppo e nell'applicazione di encoder in ambienti difficili. L'ultimo nato della famiglia di encoder antideflagranti è l'AX65. Ha un elevato grado di protezione IP (IP66 e IP67) ed è certificato ATEX e IECex. La certificazione copre i settori minerario, delle polveri e dei gas, consentendone l'utilizzo in tutto il mondo in una varietà di applicazioni come le piattaforme petrolifere, l'industria chimica o la costruzione di gallerie.
Robusto, flessibile e compatto
L'AX65 combina la robustezza richiesta dall'industria pesante con la compattezza degli encoder industriali. Installato in una custodia compatta in acciaio inox da 59 mm, resistente alla corrosione, è in grado di sopportare carichi elevati sui cuscinetti fino a 300 N. Ciò significa per l'utente che può in parte fare a meno delle gabbie di protezione per l'encoder rotativo, utilizzate tra l'altro come staffa, e quindi risparmiare sui costi. Grazie al robusto rilevamento magnetico e all'uso di un multigiro elettronico esente da usura e autosufficiente dal punto di vista energetico, l'AX65 è estremamente affidabile e fornisce sempre la posizione corretta anche dopo un'interruzione di corrente. Il coperchio dei collegamenti, avvitato e quindi facilmente rimovibile, consente un facile accesso agli elementi di comando e alla morsettiera. Attraverso gli elementi di controllo, l'utente può ad esempio impostare localmente il baud rate e l'ID a seconda dell'applicazione. Inoltre, l'encoder può essere sostituito separatamente dal cavo. Questo è un grande vantaggio, dato che su alcune piattaforme gli encoder rotativi sono montati in impianti alti 30-40 metri. Si può immaginare che i cavi lunghi 40 m siano molto pesanti e che debbano essere posati in canaline. Finora, per sostituire l'encoder era necessario riposizionare completamente il cavo, il che può essere una vera sfida in alto mare. La posa e la sostituzione indipendente di cavi ed encoder non solo offre vantaggi in termini di sicurezza nel caso di assistenza, ma consente anche di risparmiare costi decisivi.
Applicazioni
Sulle piattaforme di perforazione odierne vengono utilizzati i Top Drive, ovvero le torrette elettriche tedesche. In sostituzione degli azionamenti a piattaforma girevole, più impegnativi dal punto di vista meccanico, presenti sulle piattaforme di perforazione offshore e onshore, una torretta elettrica aziona la stringa di perforazione. Durante la perforazione, il potente motore principale si trova all'estremità superiore della serie di trivelle, da cui il nome Top Drive. Per poter perforare con il tubo di perforazione, il Top Drive deve essere montato in modo mobile sul montante dell'impianto di perforazione. Nella maggior parte dei casi viene spostato e trattenuto da una puleggia azionata dall'impianto di perforazione. Un ulteriore onere durante il processo di perforazione rotativa è il trasferimento del fluido di perforazione ad alta pressione nel tubo di perforazione collegato. Inoltre, il Top Drive deve essere in grado di sollevare meccanicamente e far ruotare contemporaneamente l'intera massa della stringa di perforazione, che può pesare oltre 1000 tonnellate, mediante un'azione di sollevamento. Per poter muovere con precisione l'azionamento superiore insieme al tubo di perforazione, sull'argano a fune sono presenti diversi encoder rotativi del tipo AX65 di Hengstler. L'AX65 misura la corsa di sollevamento dell'azionamento superiore per eseguire un feedback di posizione su diversi assi. Una posizione esatta è necessaria, ad esempio, quando si collegano tubi di lunghezza diversa. Inoltre, l'AX65 misura la lunghezza in combinazione con i cavi per la corsa del Top Drive. Oltre a tutte le misure di corsa, è possibile calcolare una lunghezza totale della serie di perforazione di diverse migliaia di metri in profondità. Se la testa di perforazione è usurata e deve essere sostituita, l'intera stringa di perforazione viene tirata su. Questa viene rimossa con un tubo o, dopo due o tre tubi, con il tubo di perforazione. La testa di perforazione ha il compito di girare il leveraggio, sollevare i tubi isolati e posizionarli lateralmente in staffe. Considerando che un singolo tubo di perforazione è lungo solo circa 19 m, si può calcolare la frequenza di queste operazioni fino a quando la testa di perforazione usurata viene esposta a 4000 metri di profondità. Per queste operazioni di sollevamento, gli ascensori di grandi dimensioni, a prova di guasto e ad alte prestazioni sono una parte importante di qualsiasi impianto di perforazione.
Impianto di sollevamento su una piattaforma di perforazione

Impianto di sollevamento su una piattaforma di perforazione
L'ascensore fa salire e scendere la fune metallica della puleggia, che muove l'azionamento superiore insieme alla corda di perforazione. Inoltre, l'elevatore può essere utilizzato per controllare il carico sulla punta di perforazione. I paranchi si differenziano principalmente per le prestazioni, il diametro della fune utilizzabile, il tipo di trasmissione (a catena o a ingranaggi) e la modalità operativa (a caduta libera o a 4 quadranti). Il compito degli encoder rotativi flangiati agli azionamenti dell'elevatore è quello di restituire la posizione esatta per le distanze di spostamento che derivano da questi carichi particolarmente pesanti della torretta di perforazione e dalla lunghissima serie di perforazioni, compresa la punta. Per garantire un funzionamento sicuro della procedura, l'encoder deve assicurare un feedback di velocità preciso e a prova di errore per il movimento del cavo.
Requisiti estremi per l'impianto di perforazione
Le condizioni estreme rappresentano una sfida per l'encoder. Ecco i punti salienti: l'area pericolosa, nonché le condizioni difficili come l'acqua di mare, le tempeste, il ghiaccio e la neve. L'encoder rotativo deve essere costruito con un design meccanicamente stabile per resistere ai forti urti e ai colpi che si verificano su una piattaforma di perforazione durante il montaggio dei tubi. Un collegamento elettrico sicuro e una rapida messa in servizio dell'encoder rotativo in loco contribuiscono a risparmiare costi e tempo. Ogni minuto di inattività sulla piattaforma costa migliaia di dollari.
La soluzione per queste applicazioni estreme è fornita da Hengstler:
Encoder rotativo AX65 in versione antideflagrante per impieghi gravosi
Con l'encoder AX65, Hengstler offre la soluzione giusta per l'uso offshore su piattaforme di perforazione e in altre aree potenzialmente esplosive. La versione Heavy Duty antideflagrante ha un elevato grado di protezione fino a IP67. L'alloggiamento in acciaio inox di alta qualità rende l'AX65 resistente all'acqua di mare aggressiva. Poiché non viene utilizzato il vetro come disco di decodifica, ma il campionamento è magnetico, l'AX65 è particolarmente robusto contro gli urti e le vibrazioni. La struttura estremamente robusta è caratterizzata dall'uso di cuscinetti a sfera molto potenti. I cuscinetti assorbono forze assiali e radiali fino a 300 N. L'AX65 è progettato per resistere a urti fino a 200 g. La resistenza alle vibrazioni è stata testata con successo fino a 20 g. Con dimensioni di 70 mm e 59 mm di diametro, l'AX65 è uno degli encoder più compatti della sua categoria. Altri vantaggi dell'AX65:
- facile installazione sul campo
- facile accesso all'elemento di controllo (DIP), che si trova, insieme alla morsettiera, sotto la calotta in acciaio inox avvitata
- installazione rapida durante l'installazione o la manutenzione
- Scelta del cavo adatto in loco
- In caso di assistenza, il sensore e il cavo possono essere sostituiti separatamente.
L'AX65 è predisposto per le seguenti interfacce bus: SSI, CANopen e Profibus. Con l'AX65, Hengstler è riuscita a offrire un encoder per aree potenzialmente esplosive che non solo è conforme alle importanti certificazioni ATEX e IECex, riconosciute a livello mondiale, ma resiste anche alle esigenze di un uso intensivo grazie al suo design robusto e compatto.
Senza usura grazie al rilevamento magnetico
L'encoder AX65 utilizza il rilevamento magnetico sia per i monogiro che per i multigiro. Per la scansione monogiro, uno speciale elemento di Hall rileva una risoluzione di 12 bit. Per impostazione predefinita, è possibile una risoluzione multigiro di 12 e 16 bit. Per registrare e visualizzare il numero di giri, l'AX65 è dotato di un nuovo multigiro elettronico. Questo funziona in modo completamente autosufficiente dal punto di vista energetico, senza contatto e senza ingranaggi o altri componenti in movimento. Poiché non viene utilizzata alcuna batteria, l'AX65 funziona in modo completamente autosufficiente.